2月24日晚,东阳光(600673)披露,公司正在筹划通过发行股份的方式收购宜昌东数一号投资有限责任公司(以下简称“东数一号”)控制权,并募集配套资金。本次交易预计构成重大资产重组且构成关联交易。本次交易不会导致公司实际控制人发生变更。
公司股票已于2月24日开市起停牌,并将于2月25日开市起继续停牌。预计累计停牌时间不超过10个交易日。

意在收购秦淮数据
东数一号系为收购秦淮数据而设立的主体。
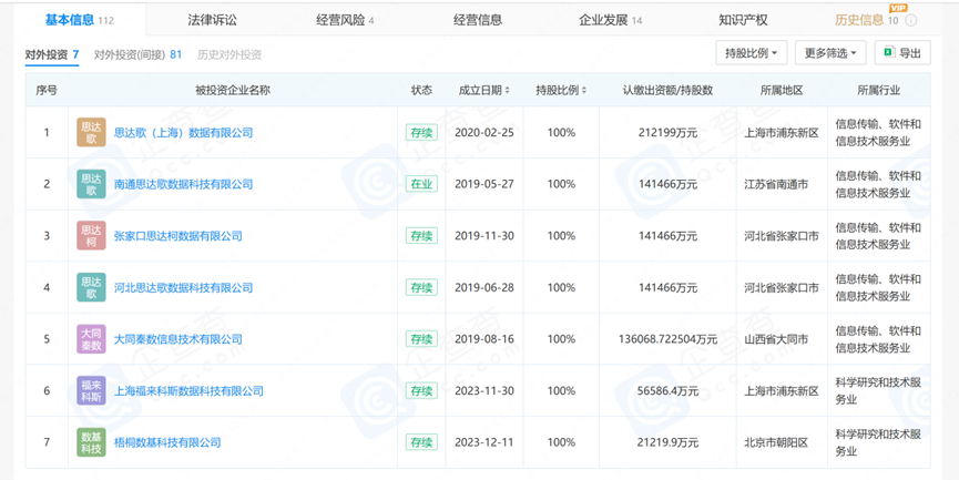
秦淮数据为知名数据中心服务商,经营主体主要包括梧桐数基科技有限公司、河北思达歌数据科技有限公司、大同秦数信息技术有限公司、思达歌(上海)数据有限公司、南通思达歌数据科技有限公司、张家口思达柯数据有限公司、上海福来科斯数据科技有限公司、河北秦数信息科技有限公司等。
东数一号通过全资孙公司宜昌东数三号投资有限责任公司(简称“东数三号”)控制秦淮数据经营主体的100%股权。
公告显示,东阳光这笔收购早有“前奏”。
2025年9月10日,东阳光董事会审议通过《关于与关联方共同增资合资公司用于收购秦淮数据中国100%股权暨关联交易的议案》,同意公司与控股股东深圳市东阳光实业发展有限公司共同对东数一号进行增资。
同时,东数一号通过东数三号收购秦淮数据中国区业务经营主体100%股权,并由东数三号与交易对方Stack HK Limited、BCPE Stack ZJK Limited、WT Alpha Ltd、吴华鹏、肖蒨等签署了《股权转让协议》。
东阳光于2026年1月17日披露,公司已合计向东数一号出资34.5亿元,履行完毕本次增资的出资义务。同时,东数三号已按照协议约定,完成向卖方支付合计280亿元的交易价款。
企查查显示,截至2月24日,东数三号已持有思达歌(上海)数据有限公司等7家公司100%股权。

而这次东阳光筹划收购东数一号控制权,交易对手方将为东数一号的股东。企查查显示,东数一号股东以股权投资基金为主,其中包括明星创投机构云锋基金,以及上市公司平潭发展。

或达成多种协同效应
东阳光主营业务为电子元器件、高端铝箔、化工新材料、能源材料、液冷科技、具身智能六大板块。截至2月13日收盘,公司总市值达1138亿元。
就公司可能与秦淮数据产生的协同效应,东阳光曾在披露增资东数一号计划时进行解释。
东阳光称,增资参股东数一号,主要基于对数据中心行业未来发展前景的战略研判与价值认同,同时亦是公司拓展业务边界、培育新增长曲线的关键举措。秦淮数据作为数据中心领域的头部企业,不仅具备领先的数据中心核心技术框架、成熟的全生命周期运营管理能力及稳定的头部客户资源矩阵,更在服务大型互联网企业的过程中形成了深厚的市场壁垒与品牌溢价能力,奠定了坚实的产业基础。本次交易完成后,双方将在区域布局、技术、产品、需求四大维度实现深度协同赋能。
增资参股东数一号对东阳光具有多重战略价值。一方面,助力公司快速切入数据中心这一高景气赛道,优化资产和资源配置结构;另一方面,通过与标的公司的产业协同,推动东阳光在液冷技术、电子元器件、智能机器人等核心业务领域实现技术突破与市场拓展,进一步强化其在数字经济基础设施产业链中的核心竞争力。
根据中国信通院发布的《中国算力中心服务商分析报告(2024年)》,秦淮数据中国区业务经营主体原所属的秦淮数据集团在总体规模、能力建设、财务状况等维度中排名全行业第二;在绿色低碳、集约发展等维度中排名全行业第一。
东阳光还曾在回复上交所监管工作函时介绍,秦淮数据中国区业务经营主体2024年营业收入为60.48亿元,净利润13.09亿元,净利率约为21.65%。

作为对比,东阳光2024年营收121.99亿元,归母净利润3.75亿元。2025年前三季度营收109.7亿元,归母净利润9.06亿元。
这意味着,若秦淮数据中国区业务保持稳定盈利能力,则可能在交易完成后对东阳光业绩带来明显提振。
作者:王玉晴