文|新浪财经上海站 十里
一家长期服务于油气管道与海洋工程的工业防腐材料企业,正悄然走向资本市场前台。

3月1日,中国证监会官网披露信息显示,中信建投证券已向监管部门提交《关于上海海隆赛能新材料股份有限公司首次公开发行股票并上市辅导备案报告》,标志着上海海隆赛能新材料股份有限公司正式启动A股上市辅导。

随着备案落地,这家深耕工业重防腐领域二十余年的材料企业,也第一次以IPO候选者的身份进入资本市场视野。


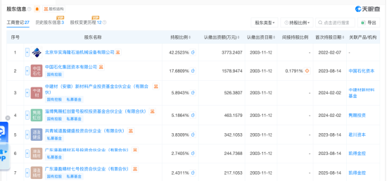
从股东阵容来看,这家企业背后并不“低调”。截至辅导报告出具日,北京华实海隆石油机械设备有限公司持股42.2523%,为控股股东;中国石化集团资本有限公司、浙江闰土股份有限公司、中信建投投资有限公司等产业资本与金融资本亦在股东名单之列。此次IPO辅导团队同样颇具分量,中信建投证券担任辅导机构,北京市金杜律师事务所担任法律顾问,德勤华永会计师事务所(特殊普通合伙)负责审计。
相比资本阵容,更引人关注的,是公司背后的掌舵人。

海隆赛能董事长张军出生于1968年,是国内石油装备及防腐材料行业的“老兵”。他的职业轨迹带着典型的产业技术派色彩。1990年从河北广播电视大学毕业后,他进入中国石油天然气集团附属企业华北石油管理局第一机械厂,从一名技术员开始职业生涯。三年后,他参与了由美国向中国引进的首条石油钻杆涂层生产线,这段经历让他接触到当时仍被国外技术主导的油气管材防腐领域。
在国企体系工作期间,张军逐步升任副总经理,负责财务、运营及基建管理。2000年前后,中国油气基础设施建设进入扩张周期,管道防腐材料需求随之快速增长。2003年,张军创立海隆系企业,并逐步搭建起围绕石油专用管材防腐、高端重防腐涂料及腐蚀评估服务的产业体系。

此后多年,他不仅成为海隆赛能的董事长,也担任港股上市公司海隆控股的董事会主席及联席首席执行官。
从业务结构看,海隆赛能目前形成了三大板块:油气防腐新材料、工业重防腐新材料以及工业防腐信息化管理服务,覆盖石油专用管材防腐、高端工业涂料及腐蚀评估等环节。公司产品主要应用于石油管道、海洋工程、船舶及大型工业设施等高腐蚀环境场景。
在技术路径上,公司长期围绕石油管道和海洋工程的极端使用环境开展研发,其重防腐涂料产品已应用于大型船舶、海洋钻井平台、风电设备及钢结构工程等领域。多项核心技术被认定为上海市高新技术成果转化项目和国家重点新产品。
近年来,公司也开始通过资本运作和产业整合强化产业链。2023年,海隆赛能收购海隆管道工程技术服务有限公司,进一步打通从防腐材料生产到管道涂敷服务的上下游环节。2026年1月,公司完成股份制改造,并引入多家机构投资者。
随着IPO辅导正式启动,这家长期隐身于油气工程背后的工业材料企业,正逐步走到资本市场聚光灯下。对于张军而言,这既是其多年产业积累的一次集中呈现,也是海隆系在资本市场版图上的又一次推进。