停产能平息众怒吗?今麦郎“手打”竟是商标,网友被骗20年要求道歉,律师批“典型违法广告”

lnradio.com 38 0

停产能平息众怒吗?今麦郎“手打”竟是商标,网友被骗20年要求道歉,律师批“典型违法广告”

  文|《BUG》栏目 闫妍

  一袋挂面,一个商标,一场关于“虚假宣传”的争议,将知名食品企业今麦郎推上了舆论的风口浪尖。

  近日,南京消费者陈先生购买今麦郎“手打挂面”后,因未吃出手工面口感质疑产品宣传。对此,今麦郎客服回应称,该款挂面属于车间流水线生产的工业食品,“手打”是产品名称,仅为注册商标,和手工工艺并无关联。

  昨天,今麦郎集团董事长范现国发布视频回应。他称,“手打”商标是2006年注册,已经用了20年。“我们决定不再使用‘手打’商标,从4月2日凌晨起,我们会立即停止生产所有带有‘手打’商标的产品。”

  今日,《BUG》栏目发现,各大今麦郎官方旗舰店已下架该产品。但对于市场上现有的库存产品如何处理,企业尚未公布具体方案。

  值得注意的是,无论是范现国的回应还是客服沟通,均未对此表示歉意。在社交媒体上,不少消费者对今麦郎使用20年“手打”商标感到不满。“骗了我们20年,品牌到今天也没有真正的道歉。”还有网友留言,“看这架势,好像大家应该给这种欺骗行为点赞似的。”

  此外,范现国将此归因于“时代进步,消费者认知提升,产品也必须跟上时代步伐”,该言论同样让人不满,有网友在社交媒体直言,“06年注册,已经用了20年,现在说消费者认知提升,意思就是现在消费者不好骗了?”

  董事长承认“手打”是商标,曾因此被判赔

  事情的起因,源于南京消费者陈先生的一次日常购物。

  近日,南京的陈先生在超市购买一款手打挂面,回家后没吃出手打面的感觉,查看外包装后才发现,所谓“手打”挂面只是商家玩的文字游戏,在“手打挂面”四字右上角,有一个不起眼的注册商标符号®。

  对此,今麦郎客服回应称,该款挂面属于车间流水线生产的工业食品,“手打”是产品名称,仅为注册商标,和手工工艺并无关联。

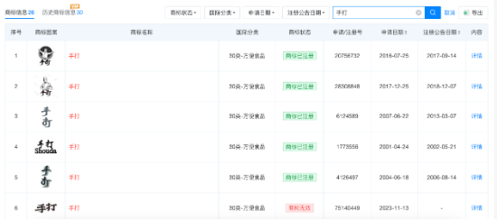
  天眼查信息显示,2002年到2023年间,今麦郎食品股份有限公司已陆续注册多个“手打”字样商标,使用范围均为方便食品类,注册时间跨度超20年。

停产能平息众怒吗?今麦郎“手打”竟是商标,网友被骗20年要求道歉,律师批“典型违法广告”

  此外,这并非该品牌第一次因“手打”标识陷入纠纷。早在2018年就有消费者因购买的“手打面”实为机制挂面提起诉讼,法院最终认定产品标签标示违反《中华人民共和国食品安全法》,判令商家退一赔十,赔偿金额超1.1万元。

  面对舆论发酵,今麦郎集团董事长范现国于4月1日发布视频,公开回应此事。

  范现国在视频中坦言,“手打”商标是今麦郎在2006年注册的,至今已使用了整整20年。他同时宣布:企业将不再使用这一商标,从4月2日凌晨起,立即停止生产所有带有“手打”商标的产品。

停产能平息众怒吗?今麦郎“手打”竟是商标,网友被骗20年要求道歉,律师批“典型违法广告”

  但对于市场上现有的库存产品如何处理,企业尚未公布具体方案。对此,《BUG》栏目以消费者身份向今麦郎官方旗舰店客服进行咨询,对方表示目前店内已经没有“手打”挂面产品售卖,相关产品都已下架。谈及之前购买“手打”商标相关产品是否可以申请退货,对方并未正面回应,只表示“未拆封产品都支持7天无理由退货。”

停产能平息众怒吗?今麦郎“手打”竟是商标,网友被骗20年要求道歉,律师批“典型违法广告”

  律师:“这是典型的违法广告”

  从法律角度来看,今麦郎“手打”商标是否合法合规?这个商标配合今麦郎包装上的“好像妈妈的手打面”宣传语,是否构成“虚假宣传”?

  著名律师、财经作家郭勤贵向《BUG》栏目表示,“首先,‘手打’作为商标本身,就存在明显法律瑕疵。根据《中华人民共和国商标法》第十条第一款第七项,带有欺骗性、容易让公众对商品工艺、质量产生误认的标志,依法不得作为商标使用。今麦郎产品实际为机器生产,却使用‘手打’商标,本质上就是对生产工艺的误导性描述。”

  他进一步分析称,“配合包装上‘好像妈妈的手打面’这句宣传语,已经构成《广告法》所禁止的引人误解的虚假宣传。判断标准很清晰:一是宣传内容与实际生产工艺不符;二是足以让普通消费者误以为是手工制作;三是对消费决策产生实质性影响。满足这三点,就属于典型的违法广告。”

  郭勤贵指出,对于已经流入市场的产品,企业面临三重责任:第一,因为不涉及食品安全问题,法律上不强制要求召回;第二,但企业应当作出明确说明,告知消费者“手打”是商标而非实际工艺,避免继续误导公众;第三,如果消费者因受误导要求退货,企业负有法律义务配合办理退货退款。误导性宣传本身构成民事欺诈,消费者依法有权主张退款,甚至在符合条件时主张惩罚性赔偿。

  广东省食品安全保障促进会副会长、中国食品产业分析师朱丹蓬向《BUG》栏目表示,“在中国快消品行业步入高度内卷的节点,如何成功出圈?如何解决消费者痛点?这无疑是各企业绞尽脑汁思考的问题,从今麦郎的案例来看,不难发现它的确迎合了中国消费者的核心需求,更多的是利用了消费者的消费思维的痛点,进行了精准的营销。但我认为这种做法有些夸大其词,甚至存在误导消费者的嫌疑。”

  值得注意的是,今麦郎“手打挂面”争议也并非个例,在消费领域“心机商标”的现象频出,仍存在打“擦边球”的惯性。此前,白象多半袋面、多半桶面系列产品包装上显示“多半”为注册商标;潘婷“三分钟奇迹”洗发水产品背面用小字表明三分钟奇迹是注册商标,但产品名称并不是功效宣称,都引发了公众热议。

  郭勤贵认为,这个案例对整个食品行业的警示非常直接,主要体现在三个方面:

  第一,商标不是“宣传话术”,不能用来描述工艺、品质、口感。像“手打”“手工”“鲜榨”“无添加”这类描述性词汇,注册成商标本身就存在极高的被宣告无效和行政处罚风险。

  第二,宣传语必须坚持真实、准确、可验证,不能打擦边球、玩文字游戏。《广告法》第二十八条明确禁止任何引人误解的宣传,一旦误导,就可能面临罚款、索赔、商誉受损的处罚。

  第三,企业在商标注册、包装设计、广告语拟定前,必须进行严格的法律合规审查,避免用营销创意替代法律底线。合规,才是品牌最稳的长期竞争力。

  市场份额缩水,资本化进程多次受阻

  今麦郎成立于1994年,从河北隆尧的一家县级面粉加工厂起步,逐步发展为中国方便食品行业的头部企业之一,产品涵盖方便面、挂面、饮品等多个品类。

  据公司官网介绍,品牌工厂遍布全国18个省份,现已在全国建有26个生产基地,57个工厂,员工近2万人。方便面年产能120亿份,位居世界前三强,饮品年产能2000万吨,年处理小麦400万吨。产品销售遍布全国,并远销40多个国家和地区。

  据河北省工商业联合会公布的历年民营企业100强榜单,2019—2021年,今麦郎投资有限公司的营收分别为218.488亿元、240.429亿元和241.455亿元。然而自2022年起,其营收连续两年下滑。2022年降至190.76亿元,2023年进一步下滑至165.7亿元,相较于2021年的巅峰已下滑31.4%,两年缩水超75亿元。在2024年的河北民营企业100强榜单中,未公布企业具体营收情况。

  营收下滑的背后,是今麦郎传统支柱业务方便面市场份额正持续萎缩。2024年行业数据显示,白象以130亿元营收超越统一,跃居行业第二;而今麦郎自2023年起已滑落至第四位,落后于康师傅、统一和白象。

  进入2025年,今麦郎仍未扭转颓势。数据显示,2025年第四季度,中国方便面市场CR5(康师傅、统一、白象、今麦郎、三养)集中度高达84.18%,今麦郎仍位居第四。更值得警惕的是,身后的追兵正在提速,三养靠火鸡面撬动年轻市场,五谷道场、阿宽食品等新兴品牌凭借品类创新,正从不同维度对今麦郎形成“合围”之势。

  资本市场的态度,则更直观地反映了外界对今麦郎前景的疑虑。自2017年宣布启动IPO计划以来,今麦郎多次传出上市筹备消息,却因业绩波动、市场质疑等问题迟迟未能成行。相比之下,其“老对手”康师傅、统一早已成功登陆资本市场。

  面对增长困境,今麦郎集团董事长范现国曾提出雄心勃勃的目标:“中国是一个拥有14亿人口的超级市场。快消行业未来一定会出现更多的千亿级企业。今麦郎应该成为‘千亿俱乐部’的一员。我希望今麦郎在2030年实现我们的千亿梦。”然而,以目前200亿左右的体量来看,距离千亿目标尚有巨大差距。

  更令人担忧的是,在冲刺IPO和千亿目标的过程中,今麦郎对食品安全的把控反而出现了松动,用户口碑持续承压。

  据媒体报道,2022年8月,济宁市兖州区人民法院披露的一份判决书显示,今麦郎兖州公司两名员工,为了不浪费食材,不被罚款,瞒报废料(面头)真实数据,合谋从厂区拉出百余吨不合格方便面出售。此外,今麦郎多批次方便面还曾被检测出酸价超标。

  而在黑猫投诉 【下载黑猫投诉客户端】平台上,涉及今麦郎的消费者投诉高达1700多条,其中有众多消费者反映在今麦郎方便面中发现异物、产品过期、产品变质、虚假宣传等问题。

停产能平息众怒吗?今麦郎“手打”竟是商标,网友被骗20年要求道歉,律师批“典型违法广告”

  朱丹蓬向《BUG》栏目表示,“近年来,确实有很多企业在打造差异化、提升品牌溢价、试图触动消费者心弦。但总体来看,企业首先要做到合规、合法、合理。否则的话,经不起消费者的推敲,也经不起市场的检验,更难过国家监管这一关。所以,整体而言,我认为企业还是应立足现实,踏踏实实把品质、营销和供应链做好。”